釜残溶剂回收固化处理技术
SuoFu Machinery索孚公司根据不同釜残情况形成的几种工艺路线和处理方法方案一
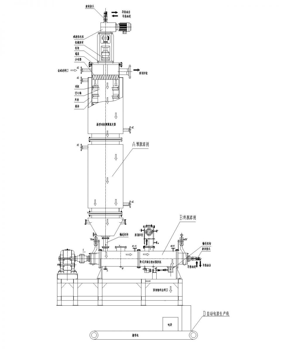
方案1:利用索孚专利产品卧式单自清洁薄膜蒸发器和卧式双轴自清洁干燥机在高温330C°以下和真空-0.095MPa左右条件下,回收大部分有用高沸物溶剂产品,最终残留量≤0.2%,再将釜残废盐等直接干燥固化破碎处理;(物料特性:溶剂脱除完毕直接固相析出和通过高温催化裂解成固相物料,例如:废盐釜残,苯二酚釜残,甲基丙烯酸釜残,二甲基-咪唑啉酮釜残,亚硫酸氢钾盐干燥,二甲基亚砜(DMSO)釜残处理,染料中间体废活性炭干燥处理,污泥等等)
![]() |
|
焦油釜残处理方案一 |
![]() |
![]() |
|
二甲基亚砜(DMSO)釜残处理现场1 |
二甲基亚砜(DMSO)釜残处理现场1 |
![]() |
![]() |
|
进料状态类似焦油沥青状态 |
出料干燥固化成粉体 |
感兴趣的朋友想了解详细工艺路线和装置可以拨打0571-85228880,13989829118易家驰咨询



.jpg)



