立式螺带式搅拌机
详细介绍
● 前言
在化学工业领域,有许多高粘度流体的混合、固含量很高的膏状物料的混合,等问题。传统的搅拌器(如框式搅拌器、锚式搅拌器、蜗轮式搅拌器等)在这种场合不适用,或混合质量和效率十分低下。为解决上述问题,索孚公司的科技人员通过多年的研究,成功开发了LLD系列螺带式搅拌机这种高粘流体、高固含量的混合设备。该设备广泛应用于石化、农药、精细化工、高分子聚合、制药、食品、化妆品、染料、涂料、水处理等行业。
● 结构
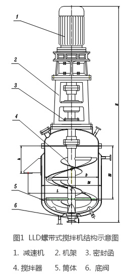
LLD系列螺带式搅拌机结构如图1所示,主要由摆线减速机、机架、密封函、搅拌器、筒体、底阀等组成。
● 工作原理
该机由摆线减速机直接驱动搅拌轴旋转。搅拌轴由与筒体吻合的螺带及实心螺旋组成,旋转时,螺带将物料由下向上沿反应釜筒体内壁盘旋提升。运转时物料在其作用下产生了不规则的对流、剪切、掺混、扩散等,形成全方位的三维运动。搅拌轴的中心是一实心面体螺旋,在运转时将靠中心的物料下压,形成物料的大循环。如此不断反复,使物料在短时间内达到均匀混合。
● 特点
该机除减速机外机内无任何传动机构,对物料不产生污染,因此特别适合对卫生要求高的粉料混合,同时也使该机总体结构紧凑,占地面积小,能耗低。操作、维修方便。同时该设备还具有以下特点。
1、无混合死区。
2、混合质量好、混合效率高。
3、传热能力可大幅度提高。
4、适应多种复杂工艺和介质的混合要求,特别适合高粘度流体与高含固量介质的混合。
5、可采用普通夹套、螺旋板夹套或半圆盘管等传热方式。
● 技术参数
| 型号 | LLD-0.2 | LLD-0.5 | LLD-1.5 | LLD-3 | LLD-5 |
|---|---|---|---|---|---|
| 全容积(m3) | 0.27 | 0.8 | 1.87 | 3.65 | 6.23 |
| 有效容(m3) | 0.15 | 0.6 | 1.22 | 3.00 | 4.26 |
| 筒体直径D(mm) | 600 | 900 |
1200 |
1500 | 1800 |
| 夹套直径D1(mm) | 700 | 1000 | 1300 | 1700 | 1900 |
| 筒体直边高度H1(mm) | 800 | 900 | 1200 | 1500 | 1800 |
| 总功率(kW) | 2-5 | 4-11 | 8-15 | 10-20 | 20-40 |
| 转速(rpm) | 30-60 | 30-60 | 5-30 | 5-40 | 5-30 |
| 支座中心距L | φ992 | φ1460 | φ1760 | φ2164 | φ2470 |
| 支座孔径n-d | 4-φ24 | 4-φ24 | 4-φ24 | 4-φ30 | 4-φ30 |
| 支座至筒盖h | 550 | 420 | 500 | 600 | 600 |
| 外形尺寸 D1×H | φ700X2900 | φ1000X3100 | φ1300X3800 | φ1700X4600 | φ1900X5500 |
| 设备重量 | 800 | 1500 | 2200 | 4300 | 7000 |
注:1、由于物料性质和搅拌目的的不同,表中的功率、转速等技术参数可能会有较大的变化,准确的技术参数和其他外型尺寸在订货后提供;2、本设备内一般为常压,夹套压力及材质可根据用户要求设计。
● 订货须知
1、一般情况本设备材质为SUS304不锈钢,电机采用非防爆电机,如有特殊要求请用户在订货时说明;
2、如用户需要,本搅拌机可配备电控柜和变频调速器。
3、本说明书内容如有修改,恕不另行通知。
索孚科技公司郑重承诺,凡购买我公司产品,一年内保修,终生维护。
功能搅拌开启高效生产,浙江索孚中国搅拌专家,购品质设备,选浙江索孚!
浙江索孚化工设备有限公司专业生产高速分散机、研磨机、乳化机、不锈钢拉缸,专门配套涂料,染料,颜料,油漆,油墨,胶合剂,树脂,药膏,化妆品,造纸,食品,橡塑,复合材料,绝缘材料,磁性材料,其它色浆等化工行业产品的液-固湿法分散、研磨、搅拌、均质、混合、溶解工艺。浙江本土分散机生产厂家,质量有保障,品质看得见, 售后就在您身边!





