300L无轴双锥螺带混合机
详细介绍
无轴双锥螺带混合机涉及化工、医药、医疗器械、锂电、高能电池、硅橡胶、科研实验等技术领域,特别对单批次生产和小批量的化学实验应用,尤其涉及PLA、PGA、PBO等超高粘物料的混合搅拌或化学反应领域。
.png)
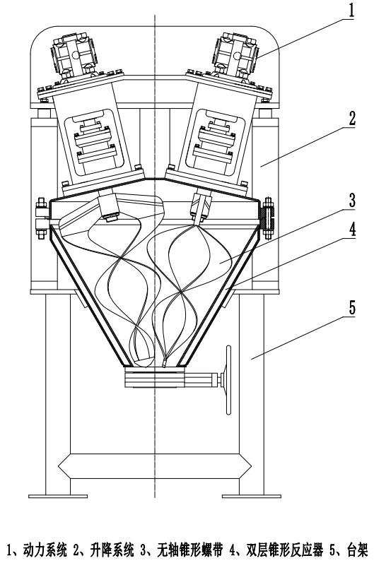
双锥体无轴螺带混合装置,双层锥形壳体是为了调节反应或混合温度,在锥形反应皿的外部 增加一个内部中空的夹套用于通过热媒或冷媒介质,从而对锥形反应皿进行温度调节。
.png)
双锥体是将两个锥形容器通过一定的夹角拼接成“∞”形的双联锥体,其目的是在有限的空间内增加搅拌混合面积,在反应器内形成多方向螺旋混合流,减少物料的反应死角等,用以达到高粘物料的充分混合或反应,同时方便超高粘物料的出料和清洁清洗。所述无轴锥形螺带的传质、传热和界面更新的卓越效果,使反应空间内的物料在上下翻滚与混合时都没有死角,使混合和反应更加充分;同时更不会因为轴的存在使物料在混合(反应)过程中在轴心部位因抱轴而形成的残留死角。
.png)
同向螺带组合的同向螺旋混合流
.png)
正反螺带组合的反向螺旋混合流
该双锥体无轴螺带混合装置,考虑到了不同的化工原料会有异味、毒性、刺激等情况,设计成密闭工作空间,设有真空口、充气口等对反应压力调节,以及对异味等进行抽排处理,从而保证环保要求和安全需要。
索孚科技公司郑重承诺,凡购买我公司产品,一年内保修,终生维护。
功能搅拌开启高效生产,浙江索孚中国搅拌专家,购品质设备,选浙江索孚!
浙江索孚化工设备有限公司专业生产高速分散机、研磨机、乳化机、不锈钢拉缸,专门配套涂料,染料,颜料,油漆,油墨,胶合剂,树脂,药膏,化妆品,造纸,食品,橡塑,复合材料,绝缘材料,磁性材料,其它色浆等化工行业产品的液-固湿法分散、研磨、搅拌、均质、混合、溶解工艺。浙江本土分散机生产厂家,质量有保障,品质看得见, 售后就在您身边!



